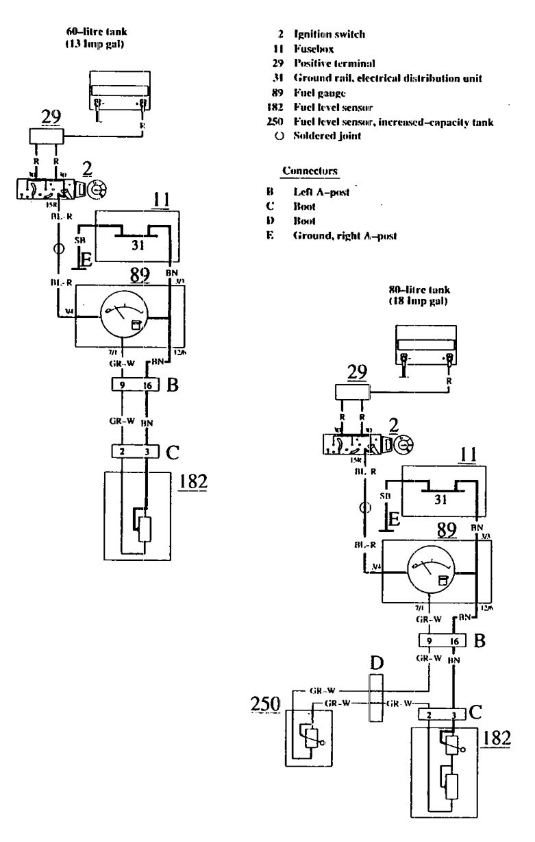
As a rough test, and I do mean rough, with the car running bridge those two wires you took the photo of and watch the fuel gauge. If the gauge moves continue checking the sender in the top tank. If not then it is either the sender in the bottom tank, or the gauge, or the wiring to the dash, or a fuse…
Removing the fuel sender in the bottom tank is a massive pain, as mentioned above. If you do go there get a new seal, the old ones are a nightmare to get back in. Best put a new sender pump in there while you are there.
Found this online:
